扫码加入

  • 方案介绍
  • 相关推荐
申请入驻 产业图谱

汽车零部件ESD静电通电试验搭建

01/15 16:07
685
加入交流群
扫码加入
获取工程师必备礼包
参与热点资讯讨论

汽车部件ESD静电通电试验

汽车部件ESD静电通电试验是指对汽车组件进行静电放电(ESD)试验,以测试其耐受静电干扰的能力。静电放电是由电荷积累在物体表面或分体之间的电荷差造成的,静电放电的电压可远超过正常工作电压,会导致汽车电子元器件、传感器以及计算机控制模块等组件发生故障。

汽车ESD静电通电试验是基于GB_T 19951-2019 & ISO 10605标准进行的。该标准规定了汽车、卡车和摩托车零部件的ESD试验规程。测试时,使用专业的静电放电枪和ESD测试设备在汽车各部件表面施加静电放电,以模拟真实的静电放电环境。测试时需要注意防止伤害到测试人员以及汽车系统本身的安全。

 

通过ESD静电通电试验,汽车制造商能够评估汽车零部件在面对静电放电时的能力,以确保汽车系统的完整性和可靠性。这有助于提高车辆的可靠性,降低维修成本。

一.试验桌布置

GB_T 19951-2019 & ISO 10605 静电ESD试验桌布置———俯视图如下

图一 ESD试验桌布置———俯视图

 

图片说明:

(1)场耦合平板(各方向 比 DUT 至少大 10 mm 、尺寸至少为 160 mm×350 mm , 锥形部分连接到 HCP );

(2)支撑线束的场耦合带(宽度 40 mm ) ;

(3)放电岛(直径 80 mm );

(4)放置 DUT 和线束的非导电块( ε r <2.5 , 高度为 50 mm ) 。

注:场耦合平板和场耦合带为紫铜或黄铜, 厚度为 0.5 mm~2 mm 。 尺寸的允差为 ±5% 。

实物如图

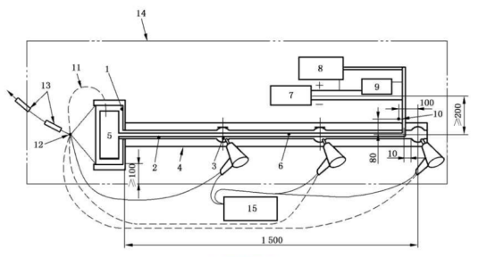
二、直接放电试验布置

图二 直接放电试验布置图

图片说明:

(1)场耦合平板;

(2)场耦合带;

(3)放电岛;

(4)放置 DUT 和线束的绝缘块;

(5)DUT ;

(6)DUT 的线束;

(7)蓄电池;

(8)外围或支持设备;

(9)人工网络(如果使用);

(10)蓄电池和支持设备的接地参考点;

(11)DUT 最近距离接地(如果要求);

(12)HCP 、发生器和 DUT 安全接地位置;

(13)连接到地的 2 个 470 kΩ高压电阻;

(14)HCP ;

(15)ESD 发生器主机。

注: 尺寸的允差为 ±5%

 

 

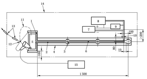
三、间接放电试验布置

图三间接放电试验布置图

图片说明:

(1)场耦合平板;

(2)场耦合带;

(3)放电岛;

(4)放置 DUT 和线束的绝缘块;

(5)DUT ;

(6)DUT 的线束;

(7)蓄电池;

(8)外围或支持设备;

(9)人工网络(如果使用);

(10)蓄电池和支持设备的接地参考点;

(11)DUT 最近距离接地(如果要求);

(12)HCP 、发生器和 DUT 安全接地位置;

(13)连接到地的 2 个 470 kΩ 高压电阻;

(14)HCP ;

(15)ESD 发生器主机。

注: 尺寸的允差为 ±5%

相关推荐

方案定制

去合作
方案开发定制化,2000+方案商即时响应!

雷卯电子是中国电磁兼容解决方案和元器件供应领导品牌。成立于2011年,品牌Leiditech,是国家高新技术企业。公司研发团队由留美博士和TI原开发经理组建,凭借技术精湛的研发队伍和经验丰富的电磁兼容行业专家,主要提供防静电TVS/ESD以及相关EMC元器件(放电管TSS/GDT、稳压管ZENER、压敏电阻MOV、整流二极管RECTIFIER、自恢复保险丝PPTC、场效应管MOSFET、电感)。