摘要:
圣邦微电子推出 SGM38120,一款面向多摄像头和多传感器应用场景的电源管理芯片。该器件可应用于智能手机、智能手表、AR 眼镜、健康监测以及智能监控等设备。
正文:
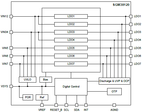
SGM38120 是一款高性能的 7 通道低压差线性稳压器(LDO)电源管理集成电路(PMIC),集成了两种类型的 LDO 通道:两个低压差 N 沟道 MOSFET LDO 通道和五个高电源噪声抑制比(PSRR)及低噪声 P 沟道 MOSFET LDO 通道。这种设计使其能够满足多种电源管理需求,同时兼顾高效性和稳定性。

图1 SGM38120 功能框图
器件特性:
LDO1 和 LDO2:
LDO3、LDO4 和 LDO6:
- 输出电流能力 500mA;
- 输入电压范围 1.8V 至 5.5V;
- 可编程输出电压范围 1.504V 至 3.544V,步进 8mV;
- 电源噪声抑制比(PSRR)表现出色,在 1kHz 频率下达到 105dB,在 1MHz 频率下仍能保持 70dB;
- LDO3 和 LDO4 噪声水平为 15μVRMS(典型值);
- LDO6 噪声水平为 17μVRMS(典型值)。
LDO5 和 LDO7:
- 支持 750mA 的输出电流;
- 输入电压范围 1.8V 至 5.5V;
- 可编程输出电压范围 1.2V 至 3.544V,步进 8mV;
- 电源噪声抑制比(PSRR)在 1kHz 时为 105dB,在 1MHz 时为 70dB,噪声水平为 17μVRMS(典型值)。
为确保系统的安全性和可靠性,SGM38120 还配备了多种保护功能,包括过温保护(OTP)、输出过流保护(OCP)、欠压保护(UVP)和欠压锁定保护(UVLO)。此外,芯片还支持故障中断功能,能够及时响应异常情况,进一步提升系统的稳定性。
在通信和控制方面,SGM38120 配备了 I²C 通信外设,其默认从机地址为 0x35,可通过 I²C 进行灵活配置,方便用户实现系统集成和管理。芯片还设有高优先级的 RESET_B 引脚,用于硬件复位,以及 INT 引脚,用于中断指示和 I²C 通信外设的交互,进一步增强了其在复杂系统中的适用性和灵活性。
SGM38120 的工作温度范围为 -40℃ 至 +85℃,能够适应广泛的工业安防和消费级应用场景。它采用环保型 WLCSP-1.83×1.51-20B 封装,体积小巧,适合用于对空间要求较高的设备中。凭借其卓越的性能、灵活的配置和强大的保护功能,SGM38120 为电源管理应用提供了一个高效、可靠的解决方案。

图 2 SGM38120 典型应用框图
1111
