扫码加入

  • 正文
  • 相关推荐
申请入驻 产业图谱

功率放大器赋能:PZT-5H高压压电特性测量方法研究中的创新应用

2025/08/27
862
加入交流群
扫码加入
获取工程师必备礼包
参与热点资讯讨论

近年来,高功率压电换能器得到了快速发展,并广泛应用于声纳、超声波焊接、超声波检测和声驱动天线等领域。这些换能器通常追求高性能,如大带宽和良好的灵敏度。因此,其核心压电材料必须具备优良的压电性能,例如压电系数d31和机械品质因数Qm。尽管已开发出多种新型压电材料用于高功率换能器,但将改进后的材料直接应用于高功率换能器设计却十分困难,因为现有的小信号测量结果难以直接应用到高功率换能器的设计中。

ATA-3000/4000/2000系列等高压功率放大器基于采用AB类放大电路,具有低失真、高稳定的特点。其最大带宽可达3MHz,最大输出电压可达1600Vpp,广泛应用于各类压电材料测试及性能评估。

实验名称:基于PZT-5H的高压压电特性测量方法及功率与温度效应的解耦研究

实验原理:PZT-5H陶瓷由于其Qm值较低,在高功率下容易发热,因此适合研究振动器性能的温度依赖性。温度变化会影PZT-5H的压电常数、介电常数等参数,从而影响其压电性能。在实验中,可以通过控制温度变量,测量不同温度下的压电特性参数,以研究温度对压电特性的影响。功率变化可能导致压电陶瓷的发热和温度变化,进而影响其压电性能。在实验中,可以通过控制输入功率变量,测量不同功率下的压电特性参数,以研究功率对压电特性的影响。

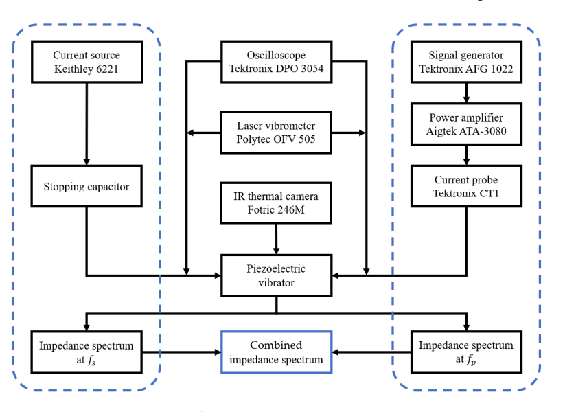
实验框图:

实验实拍图:

实验过程:实验中,两根钢针夹在振动器的几何中心,使其在自由边界条件下水平振动并提供电气连接。结合阻抗法和瞬态法均使用多普勒激光振动仪进行实时振动速度测量。红外热像仪用于实时表面温度测量。使用信号发生器和ATA-3080功率放大器作为恒压源,信号发生器产生激励信号通过功率放大器无失真放大。此外,还使用了一个电流探头来记录接近截止频率的频谱。组合点的位置设定为阻抗为最大功率时谐振阻抗的1.6倍,且频率介于截止频率和截止频率之间。这一规则确保了恒压法施加的电压保持在一个合理的范围内。

应用方向:科学研究、工业生产、医学诊断、航空航天、能源领域

应用场景:压高功率特性、压电换能器、压电陶瓷、材料参数、瞬态法

相关推荐