扫码加入

  • 正文
  • 相关推荐
申请入驻 产业图谱

WT2003H以语音提示+远程MCU更新语音为核心的解决方案为电动车仪表做智能化升级

01/15 13:59
617
加入交流群
扫码加入
获取工程师必备礼包
参与热点资讯讨论

    小伙伴们,欢迎来到本期的唯创#WT语音芯片小课堂!今天我们要聊的这款产品,可能会让很多电动车用户和车企朋友眼前一亮——WT2003H语音芯片,一个让电动车仪表"能说会道,还能自我进化"的智能解决方案。

    在正式介绍之前,我们先来设想这样一个场景:你骑着心爱的电动车在路上,突然仪表用温柔的声音提醒你"电量过低,请及时充电",或者在转弯时贴心地说一句"左转请注意安全"。听起来是不是很贴心?

    但这还不是最神奇的地方。更厉害的是,如果你是广东的朋友,想要仪表用粤语跟你交流,或者你希望导航语音的播报节奏更符合自己的习惯,这些需求都可以通过手机APP轻松实现更新,完全不用跑门店、不用排队等拆机。这就是WT2003H带来的颠覆性体验。

    那么,这款芯片究竟是如何做到这些的呢?让我们一起深入了解一下.

image.png

01-当电动车仪表盘拥有"嘴巴"

    说到电动车仪表,大家可能会觉得它就是一个显示速度、电量的小屏幕。但在新能源电动车产业高速发展的今天,用户对车辆智能化、便捷化的需求早已不满足于"看",更希望车辆能够主动"说"。

    试想一下,当你专注于前方路况时,如果还需要频繁低头查看仪表信息,这不仅分散注意力,还存在安全隐患。这个时候,语音提示就像是给仪表装上了一张"嘴巴",让它能够在关键时刻主动提醒你。

    WT2003H的语音提示功能覆盖了几乎所有的用车场景。电量低了?它会温柔地告诉你该充电了。超速了?它会及时预警。转向、导航、功能操作,甚至各种安全提示,都能通过清晰柔和的语音精准传达。这样一来,你就可以把注意力更多地放在路况上,而不是仪表上,驾驶安全性自然大幅提升。

image.png

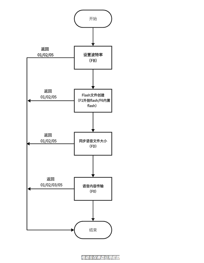
    但这还只是第一步。更让人兴奋的是WT2003H的"更新换代"的能力——远程MCU语音更新功能。这是什么意思呢?简单来说,就是让你的电动车仪表能够"常用常新",不断进化。

    传统的电动车仪表如果想要更新语音功能,那可真是个折腾人的活儿。车主需要骑车跑到门店,排长队等待,然后技术人员还要拆机进行更新,整个过程既费时又费力。而有了WT2003H,这些烦恼统统消失了。

    当车企优化了语音提示音质,或者新增了方言语音包,又或者拓展了场景化语音指令时,你只需要通过车辆中控或者手机APP接收更新通知,点击确认,系统就会自动完成MCU层面的语音更新。全程无需下车,无需等待,升级过程平稳进行,完全不影响车辆正常使用。

    举个例子,假如车企新增了粤语、四川话等方言语音提示,或者优化了导航语音的播报节奏,搭载WT2003H方案的仪表可以第一时间推送更新。这样一来,不同地区、不同需求的用户都能享受到贴合自身的语音交互体验。这种"千人千面"的个性化服务,在传统方案中几乎是不可能实现的。

image.png

02 -WT2003H如何在技术层面支撑起强大的功能

    说到这里,可能有些技术控的朋友会好奇:WT2003H是如何在技术层面支撑这些强大功能的呢?让我们来看看它的四大技术优势。

    先是更新的便捷性。WT2003H支持MCU远程下载和模拟U盘PC更新两种方式,这就像是给仪表开通了"空中升级通道"。无论是通过网络远程推送,还是通过PC端连接更新,都能快速完成语音内容的迭代,彻底告别了传统的线下拆机更新模式。

    第二是高品质的语音保障。这款芯片采用了高性能32位处理器,最高频率可达120MHz,这个配置保证了语音处理的流畅性。同时,它支持MP3和WAV两种主流音频格式,采样率覆盖8K到44.1K,单声道和双声道的音频码率都能达到8kbps到320kbps的范围。

用通俗的话说,就是无论你想要什么样的音质,WT2003H都能满足你,播放出来的声音优美动听,绝不会出现那种刺耳或含糊不清的情况。

    第三个优势是极致的低功耗设计。这一点对于电动车用户来说尤其重要。大家都知道,电动车最怕的就是亏电。WT2003H采用了先进的低功耗设计方案,当语音芯片进入深度休眠状态时,功耗可以控制在5微安以下。这是什么概念呢?就是即便语音模块长期待机,也几乎不会消耗车辆电量,完全不用担心因为语音功能导致车辆亏电,从而保障了车辆的续航能力。

    最后一个优势是广泛的兼容性。WT2003H的电路设计非常简洁,外围电路只需要两颗电容就可以正常工作。这意味着它可以适配市面上主流的电动车仪表MCU平台与操作系统,车企无需对仪表硬件进行大幅改造,就能快速集成到各类电动车产品中。这不仅降低了适配成本与升级门槛,也为大规模推广应用创造了条件。

03-从看到听,电动车仪表如何优化人车交互体验

    说了这么多技术细节,我们不妨回到用户体验的角度来思考一个问题:语音交互究竟为什么这么重要?

    其实答案很简单。在驾驶过程中,视觉是最宝贵的资源,需要时刻关注路况、车辆和行人。如果仪表信息还需要通过"看"来获取,就势必会分散注意力,增加安全风险。而语音交互则完美地解决了这个矛盾——它通过听觉通道传递信息,让你在保持视线专注的同时,也能及时获知车辆状态和系统反馈。这种从"看仪表"到"听仪表"的转变,本质上是一场人车交互体验的革命。

    更进一步说,远程更新能力让这场革命具备了持续进化的生命力。传统的电动车仪表就像是一台"定格"的设备,出厂时是什么样,使用时就是什么样,功能和体验难以随着用户需求的变化而升级。而WT2003H的远程更新功能,则让仪表成为了一个"活"的系统,可以不断优化、不断迭代,始终跟上用户需求的步伐。

    从车企的角度来看,这种能力同样意义重大。在智能化、网联化已成为电动车产业核心竞争赛道的今天,产品的迭代速度和用户体验的优化能力直接决定了市场竞争力。WT2003H帮助车企构建了一套高效、低成本的语音功能运维与迭代体系,不仅降低了售后服务的压力,也为车辆全生命周期管理提供了有力支撑。更重要的是,它让车企能够快速响应用户反馈,持续优化产品体验,从而在激烈的市场竞争中占据优势地位。

    回顾今天介绍的内容,WT2003H以"语音提示+远程MCU更新语音"为核心的解决方案,为电动车仪表的智能化升级提供了一条清晰的路径。它不仅让用户享受到了更安全、更个性化、更便捷的语音交互体验,也帮助车企在智能化浪潮中找到了提升竞争力的突破口。

    或许在不久的将来,当你骑着电动车行驶在路上,听着仪表用你最熟悉的方言温柔提醒时,你会突然意识到:原来科技的进步,就藏在这些看似微小却无比贴心的细节里。而这,正是WT2003H想要带给每一位用户的体验。

相关推荐