扫码加入

  • 正文
  • 推荐器件
  • 相关推荐
申请入驻 产业图谱

昂科烧录器支持MindMotion灵动微电子的32位微控制器MM32F5277E9P

2024/08/19
595
加入交流群
扫码加入
获取工程师必备礼包
参与热点资讯讨论

芯片烧录行业领导者-昂科技术近日发布最新的烧录软件更新及新增支持的芯片型号列表,其中MindMotion灵动微电子的32位微控制器MM32F5277E9P已经被昂科的通用烧录平台AP8000所支持。

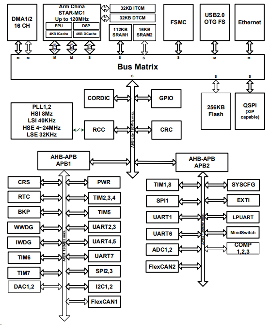
MM32F5277E9P微控制器搭载了由安谋科技授权的Arm®v8-M架构“星辰”STAR-MC1 处理器,最高工作频率可达120MHz。内置了256KB Flash,192KB SRAM,并集成了丰富的I/O端口和外设模块,包括2个3MSPS 12位的ADC,2个12位的DAC,3个模拟比较器,2个16位高级定时器,2个16位和2个32位通用定时器,2个16位基础定时器和1个低功耗定时器,1个QSPI和1个FSMC接口可用于扩展外部存储器,还包含通信接口如2个I2C,3个SPI或I2S,7个UART,1个低功耗UART,1个10/100M以太网控制器,1个集成了内部PHY的USB 2.0全速OTG控制器,以及2个FlexCAN接口。

MM32F5277E9P工作电压为2.0V~5.5V,工作温度范围为扩展工业型-40℃~+105℃,内置多种省电工作模式保证低功耗应用的要求。

这些丰富的外设配置,使得MM32F5277E9P微控制器适合于多种应用场合:

本产品提供 LQFP144、LQFP100和LQFP64等多种封装形式。

特征

  • 内核与系统

– 工作频率可达120MHz

– 搭载32位安谋科技“星辰”STAR-MC1处理器,采用Arm®v8-M Mainline架构,内置单精度浮点运算单元(FPU),支持DSP扩展

– 4KB L1指令缓存(I-Cache)和4KB L1数据缓存(D-Cache)

– 三角函数加速单元(CORDIC),支持Sin,Cos和Atan操作

– 外设互联矩阵MindSwitch,支持定时器、GPIOs、EXTI、ADC、DAC 和比较器等模块信号间的直接连接或触发连接;内置4个可配置逻辑单元(CLU)可支持这些信号间的逻辑组合以实现更灵活的触发控制

  • 存储器

– 多达256KB的Flash存储器

– 多达192KB的SRAM,其中包括32KB指令TCM(ITCM),32KB数据TCM(DTCM)和128KB的系统RAM

– Boot loader支持片内Flash在线系统编程(ISP)

– QSPI接口,支持扩展外部NOR Flash存储,支持在线执行模式(eXecute-InPlace,XIP)

– FSMC接口,支持外扩SRAM/PSRAM/NOR Flash类型,兼容 8080/6800通信总线模式

– 2.0V~5.5V供电

– 上电/断电复位(POR/PDR)、可编程电压监测器(PVD)

– 外部4~24MHz高速晶体振荡器

– 内置经出厂调校的8MHz高速RC振荡器

– 内置的PLL1可产生系统时钟,支持多种分频模式,为总线矩阵和外设提供时钟

– 内置的PLL2可产生最高100MHz的系统时钟,支持多种分频模式,为USB和ADC提供时钟

– 内置40KHz低速振荡器

– 外部32.768KHz低速振荡器,支持旁路功能

  • 低功耗

– 多种低功耗模式,包括:低功耗运行(Lower Power Run)、睡眠(Sleep)、低功耗睡眠(Low Power Sleep)、停机(Stop)、深度停机(Deep Stop)和待机模式(Standby)

– VBAT为RTC和后备寄存器(20x16位)供电

  • 2个8通道DMA控制器,支持外设类型包括定时器、ADC、DAC、UART、LPUART、I2C、SPI、QSPI和FlexCAN
  • 13个定时器

– 2个16位4通道高级定时器(TIM1/TIM8),有4组包含互补输出功能的PWM输出通道,并支持硬件死区插入和故障检测后的紧急停止功能

– 2个16位4通道通用定时器(TIM3/TIM4)和2个32位4通道通用定时器(TIM2/TIM5),每个通道配有1个PWM输出,并支持输入捕捉和输出比较,可用于红外、霍尔传感器或者编码器信号的解码

– 2个16位基础定时器(TIM6/TIM7)可用作通用定时和产生中断

– 1个16位低功耗定时器(LPTIM)能在除了Standby以外的所有低功耗模式下唤醒处理器

– 2个看门狗定时器,包括独立型的IWDG和窗口型的WWDG

– 1个24位Systick定时器

– 1个RTC实时时钟

  • 多达118个快速I/O端口

– 所有I/O口可以映像到16个外部中断

– 所有端口均可输入输出电压不高于VDD的信号

– 多达88个5V容忍I/O端口

  • 多达17个通信接口

– 7个UAR 接口

– 1个LPUART接口

– 2个I2C接口

– 3个SPI接口(支持I2S模式)

– 1个USB 2.0全速OTG控制器,内置PHY

– 1个10/100M以太网控制器

– 2个FlexCAN接口,兼容CAN 2.0B协议

  • 2个12 位ADC,共支持24个外部输入通道和2个内部输出通道,其中每个ADC支持最快3MSPS转换率

– 转换范围:0~VDDA

– 支持采样时间和分辨率配置

– 支持硬件过采样,过采样次数从2到256次可选

– 片上温度传感器

– 片上电压传感器

– VBAT电压传感器

  • 2个12位DAC
  • 3个高速模拟比较器
  • CRC计算单元
  • 96位芯片唯一 ID(UID)
  • 调试模式

– 串行调试接口(SWD)

– JTAG接口

  • 采用LQFP144、LQFP100和LQFP64封装

系统框图

昂科技术自主研发的AP8000万用烧录器包含主机,底板,适配座三大部分。

AP8000烧录器

主机支持USB和NET连接,允许将多台编程器进行组网,达到同时控制多台编程器同时烧录的目的。内置芯片安全保障电路保证即使芯片放反或其他原因造成的短路可以被立即检测到并进行断电处理,以保障芯片和编程器安全。内嵌高速FPGA,极大地加速数据传输和处理。主机背部有SD卡槽,将PC软件制作得到的工程文件放到SD卡的根目录下并插入到该卡槽内,通过编程器上的按键可进行工程文件的选择,加载,执行烧录等命令,以达到脱离PC便可操作的目的,极大地降低了PC硬件配置成本,方便迅速地搭配工作环境。

AP8000通过底板加适配板的方式,让主机扩展性更强,目前已经支持了所有主流半导体厂家生产的器件,包括TI, ST, MicroChip, Atmel, Hynix , Macronix, Micron, Samsung ,Toshiba等。支持的器件类型有NAND,NOR,MCU,CPLD,FPGA,EMMC等,支持包括Intel Hex,Motorola S, Binary, POF等文件格式。

 

公司介绍

关于灵动微电子:灵动微电子(MindMotion)成立于2011年,是中国本土通用32位MCU产品及解决方案供应商。灵动微电子的MCU产品以MM32为标识,基于Arm Cortex-M系列内核,自主研发软硬件和生态系统。目前已量产200多款型号,累计交付超3亿颗,在本土通用32位MCU公司中位居前列。客户涵盖智能工业、汽车电子、通信基建、医疗健康、智慧家电、物联网、个人设备、手机和电脑等应用领域。灵动微电子是中国为数不多的同时获得了Arm-KEIL、IAR、SEGGER官方支持的本土MCU公司,并建立了独立、完整的通用MCU生态体系,可以为客户提供从硬件芯片到软件算法、从参考方案到系统设计的各项支持。

关于昂科技术:昂科技术(ACROVIEW)是全球领先的半导体芯片烧录解决方案提供商,公司坚持以科技改变世界、用智能驱动未来,持续不断的为客户创造价值。昂科的AP8000通用烧录器平台及最新的IPS5000烧录自动化解决方案,为半导体和电子制造领域客户提供一站式解决方案,公司已服务包括华为比亚迪富士康等全球领先客户。

文章来源于:www.acroview.com

推荐器件

更多器件
器件型号 数量 器件厂商 器件描述 数据手册 ECAD模型 风险等级 参考价格 更多信息
HFBR-2422Z 1 Broadcom Limited Receiver, 5Mbps, FC Connector, Through Hole Mount, ROHS COMPLIANT, PLASTIC, 8 PIN
$22.74 查看
ABS13-32.768KHZ-T 1 Abracon Corporation CRYSTAL 32.7680KHZ 12.5PF SMD

ECAD模型

下载ECAD模型
$0.57 查看
LAN8710AI-EZK 1 Microchip Technology Inc DATACOM, ETHERNET TRANSCEIVER, QCC32, 5 X 5 MM, 0.90 MM HEIGHT, ROHS COMPLIANT, QFN-32

ECAD模型

下载ECAD模型
$1.56 查看

相关推荐