扫码加入

  • 正文
  • 相关推荐
申请入驻 产业图谱

基于数字隔离器单线双向通信的锁死机理和解决方案

21小时前
128
加入交流群
扫码加入
获取工程师必备礼包
参与热点资讯讨论
荣湃数字隔离器
数字隔离器有单通道数字隔离器和多通道数字隔离器,其中多通道数字隔离器又有单向和双向之分,如荣湃的π120M3X和π122M3X分别是单向和双向双通道数字隔离器。在隔离UART通信中,有单线和双线两种模式,其中双线模式采用π122X3X可以实现。其典型应用框图如图1所示。数字隔离器U3的两个通道分别负责两侧MCU数据的收和发。

图1、双线的UART通信电路

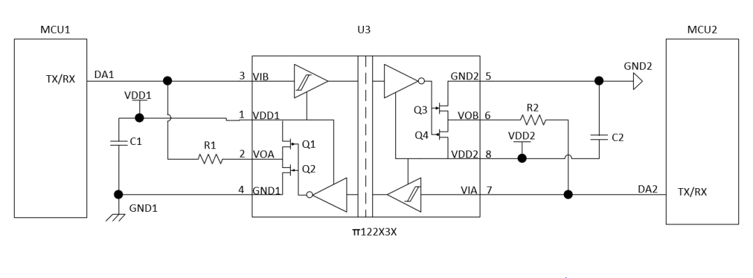
对于单线传输模式,基于π122X3X采用图2的方式是否可行?答案是否定的。其主要原因是数据传输过程中会出现锁死,无法正常通信。

图2、单线模式的UART通信电路

基于数字隔离器单线通信的锁死机理

如图2所示,假设MCU1和MCU2的初始状态为高电平。数据从左向右传输时,MCU1的DA1输出高电平,U3的VOB输出高电平,MCU2的DA2接收到高电平,同时U3的VIA为高,U3的VOA脚输出高。当MCU1的DA1输出从高变低后,U3的VIB输入为低,VOB输出由高变低;MCU2的DA2接收到低电平,同时U3的VIA为低,U3的VOA脚输出为低;当MCU1的DA1输出从低变高时,由于VOA为低,U3的VIB输入保持为低,VOB输出保持低;MCU2的DA2接收到低电平,同时U3的VIA也保持低,导致出现数字隔离器低电平锁死,从而通信失效。

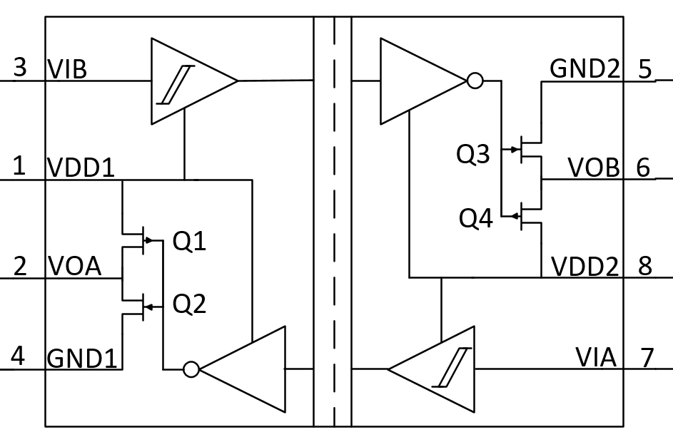
图3是的标准数字隔离器的典型框图。可以看到,在数字隔离器的输出端口分别采用的是图腾柱输出型式,其中Q1,Q2,Q3,Q4的典型导通阻抗为50Ω。低电平锁死的原因主要是数字隔离器VOA和VOB输出端口的晶体管导通阻抗小,致使MCU1和MCU2的端口在低电平时被强制拉低,从而导致锁死。

图3 π122X3X的典型框图

得益于iDivider技术的先进架构,与其他数字隔离产品相比,π1xx数字隔离器在电磁辐射和静态功耗上具有显著的性能优势,这简化了系统设计、降低了成本,同时也减轻了在家电产品设计中,为了符合EMC电磁兼容性要求,所带来的设计和成本挑战。π1xx隔离器的电磁辐射与友商产品相比明显降低,从而无需高成本的屏蔽防护措施。

π1xx数字隔离器提供1-6路通道配置,1.5KV,3KV,5KV三种隔离耐压产品可供选择;具有宽温度范围(-40至125°C)内,150Kbps(U系列),10Mbps(M系列),200Mbps(E系列)的数据传输率,以及每通道约1.3mA的低功耗水平(仅是光耦功耗的1/5),十分适合用于功耗敏感的系统设计。π1xx系列产品强大的数字隔离架构,能够确保即使在恶劣环境中,例如在高电气噪声,高温,高数据传输速率下,依旧可以保持所传输信号的完整性。

基于数字隔离器的单线通信解决方案

根据上述的锁死机理,荣湃创新性提出了的基于标准数字隔离器的单线模式的UART通信解决方案,电路框图如图4。图4在图2的基础上增加了电阻R1和R2,通过选择合适的阻值可以有效的解决单线通信过程中的锁死问题。

图4 改进后的单线UART通信电路

图5 实验结果

图5是基于π122M30数字隔离器的在1MHZ下的测试结果。其中紫色是发送的数据,蓝色是接收到的数据。可以看到数据传输稳定,无锁死现象。

相关推荐

登录即可解锁
  • 海量技术文章
  • 设计资源下载
  • 产业链客户资源
  • 写文章/发需求
立即登录

荣湃半导体(上海)有限公司是全球最先进的专业模拟电路芯片设计公司之一.我们将改变人们与世界的连接方式,我们只做革命性产品!我们将在这里分享我们的最新技术和动态,增值您的应用!