扫码加入

  • 正文
  • 相关推荐
申请入驻 产业图谱

IP6535至为芯支持多种快充协议的36W输出DC-DC降压芯片

2025/11/11
681
加入交流群
扫码加入
获取工程师必备礼包
参与热点资讯讨论

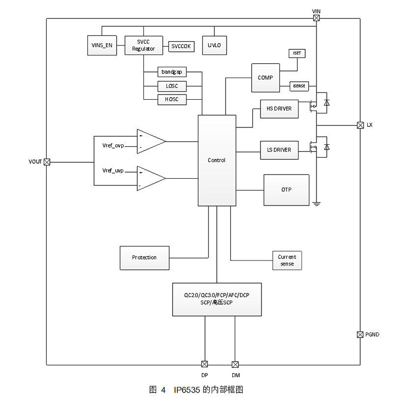
英集芯IP6535是一款应用于车载充电器、快充适配器、智能排插等充电方案的36W输出DC-DC降压芯片,内置功率MOS,实现高效同步降压转换,集成DCP、QC、AFC、FCP、SCP等多种主流快充输出协议。最大能提供36W的输出功率,输入电压范围为5.4V到32V,输出电压范围为3V到12V。支持CV/CC模式,通过DP/DM引脚自动识别接入设备的快充协议。采用SOP8L封装,体积小巧,便于生产和应用。

一、主要特性

1、支持多种协议,自动适配

IP6535集成了多种快充输出协议,包括DCP、QC2.0/QC3.0、AFC、FCP及SCP等。通过DP/DM引脚,IP6535可自动识别接入设备的快充协议,并相应调节输出电压和电流,有助于实现较快的充电速度并兼顾安全性。常见的输出电压电流组合包括5V/3A、9V/3A和12V/3A,可匹配多数设备的充电需求。

2、转换效率较高,运行稳定

IP6535采用同步开关降压架构,转换效率典型值为91.65%,有助于减少能量损耗,提升充电整体效率。芯片内置软启动功能,可抑制启动时的冲击电流,从而支持输入电源的稳定,使充电过程更为平稳。

3、多重保护设计,提升安全性

为增强充电过程的安全性,IP6535集成了输入过压与欠压保护、输出欠压、过流及短路保护等功能。芯片还配置了整机过温保护机制,在温度较高时可自动调整输出功率,有助于防止过热对设备造成影响。这些保护功能共同为充电环境提供了较好的安全保障。

二、应用领域

1、车载充电器

随着汽车电子化发展,车载充电器在现代车辆中的应用日益普遍。IP6535凭借其较高的转换效率和稳定的充电表现,适用于车载充电器设计。不论是长途出行或日常使用,该芯片能够为移动设备提供较为快速和安全的充电支持。

2、快充适配器

在现代快节奏生活中,充电时间对用户较为重要。IP6535支持多种快充协议,可为智能手机平板电脑等设备提供快速充电功能。采用IP6535的快充适配器,能够在较短时间内为设备补充电量,满足日常使用中对充电速度的需求。

3、智能排插

智能排插作为家庭与办公场所的常用设备,其充电性能影响用户体验。IP6535可集成于智能排插中,为多个设备同时提供较高效、稳定的充电支持。无论是家庭娱乐还是办公场景,该芯片能够适应用户多样化的充电需要。

三、封装与布局

IP6535采用SOP8L封装,结构紧凑,便于生产应用,同时有助于散热优化。在PCB布局时,建议注意输出端至芯片VOUT反馈走线的隔离,以及输入输出电容GND与大面积PGND的连接。此外,预留LX位置的RC吸收电路和ESR较小的输入输出陶瓷电容位置,可进一步优化EMI表现。

四、总结

英集芯IP6535集成同步开关降压转换器以良好的性能与较为完善的功能,在车载充电器、快充适配器及智能排插等应用领域展现出较好的应用前景。其多协议支持、较高转换效率及多重保护等特点,使IP6535成为移动设备充电方案中一个值得考虑的选择。随着技术持续发展和应用场景的扩展,IP6535有望在更多场合发挥作用,为用户提供更为便捷、高效的充电体验。

相关推荐